In a few days I'm expecting to mount a Cushcraft R7000 multi-band (HF) vertical antenna on top of a metal mast that will be attached to the outside wall of a large metal shed. The aim is to have the base of the antenna stick out above the roof of the shed and so have an unobstructed signal path in any direction.
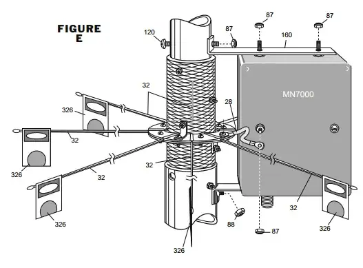
This particular antenna doesn't need a system of ground radials but instead uses a matching network, part of which is provided by a set of seven 49" (124.5cm) long steel rods that stick out in the horizontal plane (like a bottom-placed capacity hat).

The documentation mentions to horizontally space the antenna sixty-six (66) feet from any surrounding metal, but I couldn't find any information on the amount of clearance above a steel sheet roof. I'm thinking of leaving a space of about 3 feet between the roof and the capacity rods but that figure is just pulled out of a hat.
At what distance above a metal roof will the capacity bottom-hat of the antenna's matching network not experience a significant disturbance in a) resonance, b) take-off angle and c) perhaps any other main factors I didn't mention here?
It would be nice to know if the antenna would be similarly resonant in the car-park where it could be easily tuned as well as on top of the shed.